简介: SKF轴承BTM110A/P4CDBA 类型为双向, 精密,高精度轴承, BTM..A design, 30°, preload A, 内径为:110mm外径为:170mm厚度为:54mm 轴承内圈,外圈更多详细资料您可致电我司,获取SKF BTM110A/P4CDBA轴承 代号,BTM110A/P4CDBA基本尺寸,安装尺寸,基本额定载荷,精度等级,装配, 轴承的图纸、样品、价格或者替换产品等!咨询电话:0512-62658883
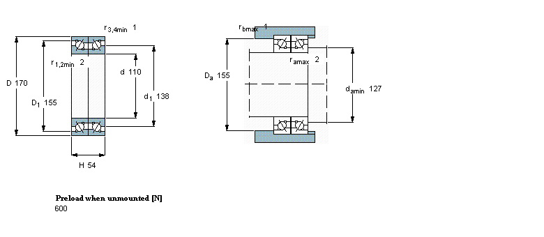
双向, 精密,高精度轴承, BTM..A design, 30°, preload ABTM110A/P4CDBA轴承 样本图纸
| 双向, 精密,高精度轴承, BTM..A design, 30°, preload A | |||||||||||
| 公差, 2344(00) 设计 , BTM 设计 | |||||||||||
| 推荐配合, shafts, housings | |||||||||||
| 轴和轴承座公差 | |||||||||||
|
|
|||||||||||
| 主要数据尺寸 | 基本负荷额定值 | 疲劳负荷限值 | 可达到的速度 | 体积 | 型号 | ||||||
| 动态 | 静态 | 当润滑与 | |||||||||
| 油脂 | 滴油润滑 | ||||||||||
| d | D | H | C | C | C0 | Pu | |||||
|
|
|||||||||||
| mm | kN | kN | r/min | kg | - | ||||||
|
|
|||||||||||
| 110 | 170 | 54 | - | 63 | 153 | 5,3 | 5300 | 6700 | 3,90 | BTM 110 A/P4CDBA | |
同类型型号
随机推荐型号