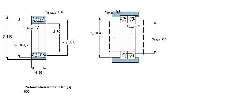
简介: SKF轴承BTM70A/P4CDBB 类型为双向, 精密,高精度轴承, BTM .. A design, 30°, preload B, 内径为:70mm外径为:110mm厚度为:36mm 轴承内圈,外圈更多详细资料您可致电我司,获取SKF BTM70A/P4CDBB轴承 游隙尺寸,游隙尺寸表,滚子粒数,BTM70A/P4CDBB报价,价格,外形尺寸,锥度, 轴承的图纸、样品、价格或者替换产品等!咨询电话:0512-62658883
双向, 精密,高精度轴承, BTM .. A design, 30°, preload BBTM70A/P4CDBB轴承 样本图纸
| 双向, 精密,高精度轴承, BTM .. A design, 30°, preload B | |||||||||||
| 公差, 2344(00) 设计 , BTM 设计 | |||||||||||
| 推荐配合, shafts, housings | |||||||||||
| 轴和轴承座公差 | |||||||||||
|
|
|||||||||||
| 主要数据尺寸 | 基本负荷额定值 | 疲劳负荷限值 | 可达到的速度 | 体积 | 型号 | ||||||
| 动态 | 静态 | 当润滑与 | |||||||||
| 油脂 | 滴油润滑 | ||||||||||
| d | D | H | C | C | C0 | Pu | |||||
|
|
|||||||||||
| mm | kN | kN | r/min | kg | - | ||||||
|
|
|||||||||||
| 70 | 110 | 36 | - | 30 | 64 | 2,75 | 4400 | 5500 | 1,12 | BTM 70 A/P4CDBB | |
同类型型号
随机推荐型号